El. paštu
Produktai
3V2 solenoidinis vožtuvas 3 krypčių
  • 3V2 solenoidinis vožtuvas 3 krypčių3V2 solenoidinis vožtuvas 3 krypčių
  • 3V2 solenoidinis vožtuvas 3 krypčių3V2 solenoidinis vožtuvas 3 krypčių

3V2 solenoidinis vožtuvas 3 krypčių

Toliau pateikiamas 3 krypčių solenoidinio vožtuvo 3V2 įvadas. OLK tikisi padėti jums geriau suprasti 3 krypčių solenoidinį vožtuvą 3V2. Sveiki atvykę į naujus ir senus klientus ir toliau bendradarbiauti su mumis, kad kartu kurtume geresnę ateitį!

3V2 solenoidinis vožtuvas yra mažas, lengvas ir lengvai montuojamas. Jo korpusas pagamintas iš tvirto aliuminio, kuris atsparus rūdims ir pažeidimams. Vožtuvas naudoja patikimą solenoidinę ritę su DC12V, DC24V, AC110V arba AC220V maitinimo parinktimis.

3V2 solenoidinis vožtuvas yra mažas, lengvas ir lengvai montuojamas. Jo korpusas pagamintas iš tvirto aliuminio, kuris atsparus rūdims ir pažeidimams. Vožtuvas naudoja patikimą solenoidinę ritę su DC12V, DC24V, AC110V arba AC220V maitinimo parinktimis.

3V2 solenoidinis vožtuvas 3 krypčių Gaminių charakteristikos

1. Tiesioginio veikimo struktūra su jautriu perjungimu.

2. Galimi normaliai uždari (NC) ir normaliai atviri (NO) tipai.

3.Koaksialinio uždarymo konstrukcija užtikrina gerą sandarumą ir didelį srautą.

4. Tepti nereikia.

5. Įrengtas rankinis perjungimas, kad būtų lengva įdiegti ir išbandyti.

6. Galimos kelios standartinės įtampos parinktys.

3V2 vožtuvas Simbolis:

Užsakymo kodas

3V

2

-

08

NC

A

 

 

 

Modelis

Kodas

 

 Uosto dydis

Vaidybos tipas

Standartinė įtampa

Elektrinis įėjimas

Slėgio įrodymas

 

3V:2 padėtis 3 krypčiai

2:2 serija

 

06:G1/8

NC: paprastai uždarytas

A: AC220V

Tuščia: JŪSŲ tipas

Tuščia: G

 

 

 

 

3:3 serija

NE: normaliai atidarytas

B: DC24V

I: linijos tipas

T: NPT

 

 

 

 

 

 

C: AC110V

 

 

 

 

 

 

 

 

E: AC24V

 

 

 

 

 

 

 

 

F: DC12V

 

 

 


Modelis

3V206

3V208

Darbo terpė

Oras (filtruojamas 40 μm ar didesniu filtru)

Oras (filtruojamas 40 μm ar didesniu filtru)

Aktorystės tipas

Tiesioginė vaidyba

Prievado dydis

G1/8

G1/4

Padėtis ir būdas

2 padėtis 3 kryptimi

Veiksminga sritis

3,2 mm² (Cv = 0,18)

3,4 mm² (Cv = 0,19)

Tepimas

Nereikalaujama

Darbinio slėgio diapazonas

0–0,8 MPa (0–114 psi)

Slėgio įrodymas

1,5 MPa (215 psi)

Darbinė temperatūra (℃)

-20-70

Korpuso Medžiaga

Aliuminio lydinys

 

Standartinė įtampa

AC220V AC110 AC24V DC24V DC12V

Įtampos diapazonas

AC: ± 15 % DC: ± 10 %

Energijos suvartojimas

AC: 7 VA DC: 7,0 W

Apsaugos klasė

Pradinė būsena:

Izoliacijos laipsnis

B lygis

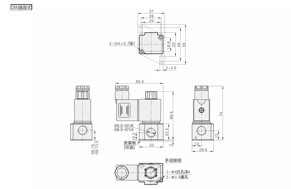
Jungties tipas

DIN kištuko tipas / linijos tipas

Min. sužadinimo laikas

0,05 sek


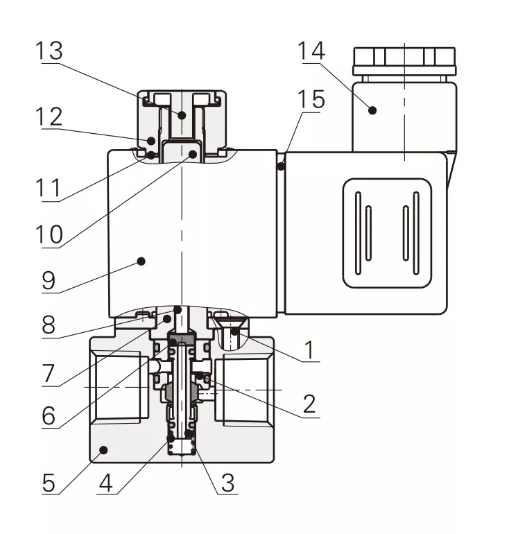
Nr.

Vardas

1

Įgilintas varžtas

2

Tarpinė rankovė

3

Šerdies surinkimas

4

Pavasaris

5

Kūnas

6

Tarpiklis

7

Solenoidų mazgas

8

Stūmoklio strypas

9

Ritė

10

Judanti geležinė šerdis

11

Pataisyta poveržlė

12

Fiksuota veržlė

13

Rankinis mygtukas

14

Terminalas

15

Terminalo tarpiklis


Prekė

3V1-M5 / 3V1-06

Üksus

3V2-06/3V2-08

Kodas

Darbo terpė

Oras

Oras, Vanduo, Aliejus

Oras

Oras

Pradinė būsena:

NC

NC/NE

NE/NC

NE/NC

Įjungimo tipas

Tiesioginė vaidyba

Tiesioginė vaidyba

Tiesioginė vaidyba

Tiesioginė vaidyba

Prievado dydis

M5;G1/8

G1/8; G1/4

G1/8; G1/4

G1/4

Padėtis ir būdas

3 2 prievado padėtis

2 prievadas 2 padėtis

3 2 prievado padėtis

3 2 prievado padėtis

Tepimas

Nereikalaujama

Nereikalaujama

Nereikalaujama

Nereikalaujama

Darbinis slėgis

0–0,7 MPa

0–0,7 MPa

0–0,8 MPa

0–0,8 MPa

Slėgio įrodymas

1,2 MPa

1,5 MPa

1,2 MPa

1,2 MPa

C: AC110V

φ1,2 mm

φ2,5 mm

Φ3,2 mm/φ3,4 mm

Φ11 mm (didelis oro srautas)


DUK:

Kl .: koks yra pagrindinis skirtumas tarp 3V2 ir 3V3 solenoidinio vožtuvo?

A: 3V2: vidutinis srautas, tinka mažai pneumatinei valdymo sistemai

3V3: didelis srautas, tinka keliems cilindrams arba didelio srauto programoms.

Konstrukcijos skirtumas: 3V3 turi didesnį korpusą ir gali atlaikyti didesnį slėgį ir srautą.


Kl .: koks yra 3V2 solenoidinio vožtuvo angos dydis?

A: 3V2-06 vožtuvo angos dydis yra 3,2 mm; 3V2-06 vožtuvo angos dydis yra 3,4 mm


K: Kokius produktus gali pakeisti OLK 3V2?

A: OLK 3V2 gali pakeisti AIRTAC 3V2 serijos solenoidinius vožtuvus su ta pačia funkcija ir panašiomis specifikacijomis.


Hot Tags: 3V2 solenoidinis vožtuvas, 3 krypčių, Kinija, gamintojas, tiekėjas, gamykla
Siųsti užklausą
Kontaktinė informacija
Sveiki atvykę į mūsų svetainę! Jei turite klausimų apie mūsų gaminius ar kainoraštį, palikite mums savo el. pašto adresą ir mes susisieksime per 24 valandas.
paštas
cici@olkptc.com
Mobilusis
+86-13736765213
Adresas
Zhengtai Road, Xinguang pramonės zona, Liushi, Yueqing, Wenzhou, Zhejiang, Kinija.
X
Naudojame slapukus siekdami pasiūlyti geresnę naršymo patirtį, analizuoti svetainės srautą ir suasmeninti turinį. Naudodamiesi šia svetaine sutinkate su mūsų slapukų naudojimu. Privatumo politika
Atmesti Priimti